Схемы > Питание > Импульсный блок питания 180Вт
Импульсный блок питания 180ВтМощность блока питания — около 180 Вт, выходное напряжение 2х25 В при токе нагрузки 3,5 А. Размах пульсации при токе нагрузки 3,5 А не превышает 10 % для частоты преобразования 100 Гц и 2 % для частоты 27 кГц. Выходное сопротивление не превышает 0,6 Ом. Габариты блока — 170х80х35 мм; масса — 450 г.

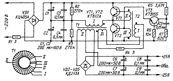
После выпрямления диодным мостом VD1 сетевое напряжение фильтруют конденсаторы С1—С4 (см. схему). Резистор R1 ограничивает ток зарядки конденсаторов фильтра, протекающий через диоды выпрямителя при включении блока. Отфильтрованное напряжение поступает на преобразователь напряжения, построенный по схеме полумостового инвертора на транзисторах VT1, VT2. Преобразователь нагружен первичной обмоткой трансформатора Т1, преобразующего напряжение и гальванически развязывающего выход блока от сети переменного тока. Конденсаторы С3 и С4 препятствуют проникновению в сеть ВЧ помех от блока питания. Полумостовой инвертор преобразует постоянное напряжение а переменное прямоугольной формы с частотой 27 кГц. Трансформатор Т1 рассчитан так, что его магнитопровод не насыщен. Автоколебательный режим работы обеспечен цепью обратной связи, напряжение которой снимается с обмотки , III трансформатора Т1 и подается на обмотку I вспомогательного трансформатора Т2. Резистор R4 ограничивает напряжение на обмотке I трансформатора Т2. От сопротивления этого резистора зависит в определенных пределах частота преобразования (см. примечание в конце страницы). Подробно о работе преобразователей с ненасыщающимся трансформатором можно прочесть в [2].
Для обеспечения надежного запуска преобразователя и его устойчивой работы служит узел запуска, представляющий собой релаксационный генератор на транзисторе VTЗ, работающем в лавинном режиме [3]. При включении питания через резистор R5 начинает заряжаться конденсатор С5 и когда напряжение на нем достигает 50...70 В, транзистор VТЗ лавинообразно открывается и конденсатор разряжается. Импульс тока открывает транзистор VТ2 и запускает преобразователь.
Транзисторы VT1 и VT2 установлены на теплоотводах площадью 50 см.кв каждый. Диоды VD2—VD5 тоже снабжены пластинчатыми теплоотводами. Диоды зажаты между пятью дюралюминиевыми пластинами размерами 40x30 мм каждая (три средние пластины толщиной 2 мм, две крайние — 3 мм). Весь пакет стягивают двумя винтами М3x30, пропущенными через отверстия в пластинах. Для предотвращения замыкания пластин винтами на них надеты отрезки поливинилхлоридной трубки.
Намоточные характеристики трансформаторов сведены в таблицу.
|
Трансформатор
|
Обмотка
|
Число витков
|
Диаметр
провода
|
Магнитопровод
|
|
Т1
|
I
|
82
|
0,5
|
Феррит 2000НН, два склеенных вместе кольца К31х18,5х7
|
|
II
|
16+16
|
1
|
|
III
|
2
|
0,3
|
|
Т2
|
I
|
10
|
0,3
|
Феррит 2000НН, кольцо К10х6х5
|
|
II
|
6
|
0,3
|
|
III
|
6
|
0,3
|
Провод обмоток — ПЭВ-2. Обмотку I размещают равномерно по длине кольца. Для облегчения запуска преобразователя обмотка III трансформатора Т1должна располагаться на месте, не занятом обмоткой II (см. рисунок). Межобмоточную изоляцию в трансформаторах выполняют лентой из лакоткани. Между обмотками I и II трансформатора Т1 изоляция трехслойная, между остальными обмотками трансформаторов — однослойная.
Конденсаторы С3, С4 в блоке — К73П-3; С1,С2 — К50-12; С5 — К73-11; С8,С9 — КМ-5; С6,С7 -- К52-2. Транзисторы КТ812А можно заменить на КТ812Б, КТ809А, КТ704А—КТ704В, диоды КД213А — на КД213Б.
Правильно собранный блок питания обычно в налаживании не нуждается, однако в отдельных случаях может потребоваться подборка транзистора VТ3. Для проверки его работоспособности временно отключают вывод эмиттера и присоединяют его к минусовому выводу сетевого выпрямителя. На экране осциллографа наблюдают напряжение на конденсаторе С5 — пилообразный сигнал с размахом 20...50 В частотой несколько герц. Если пилообразное напряжение отсутствует, транзистор необходимо заменить.
Применение этого источника питания не исключает необходимости блокирования выходных цепей питания усилителя конденсаторами большой емкости. Подключение таких конденсаторов в еще большей степени уменьшает уровень пульсации.
Литература
1. В. Цибульский Экономичный блок питания. Радио, 1981, № 10, с. 56.
2. Ромаш Э. М. Источники вторичного электропитания радиоэлектронной аппаратуры.— М.: Радио и связь, 1981.
3. Бирюков С. Блок питания цифрового частотомера,— Радио. 1981. № 12, с. 54, 55.
Д. БАРАБОШКИН
Радио, 6/85г.
ПРИМЕЧАНИЕ
При включении блока питания измерьте частоту преобразования (на выводах обмотки II) - она может оказаться значительно ниже, чем 27 кГц (например 9 - 12 кГц). И хотя устройство будет работать, силовые транзисторы выйдут из строя от перегрева. Подгонка частоты осуществляется резистором R4. Причем номинал может отличатся от указанного на схеме на десятки Ом.
Правильно настроенный блок питания отлично работает, при нагрузке в 50 - 70% силовые транзисторы остаются холодными. Дата публикации: 2005-04-08 Прочтено: 32978
Версия для печати:  |